Folge dem Video um zu sehen, wie unsere Website als Web-App auf dem Startbildschirm installiert werden kann.
Anmerkung: This feature may not be available in some browsers.
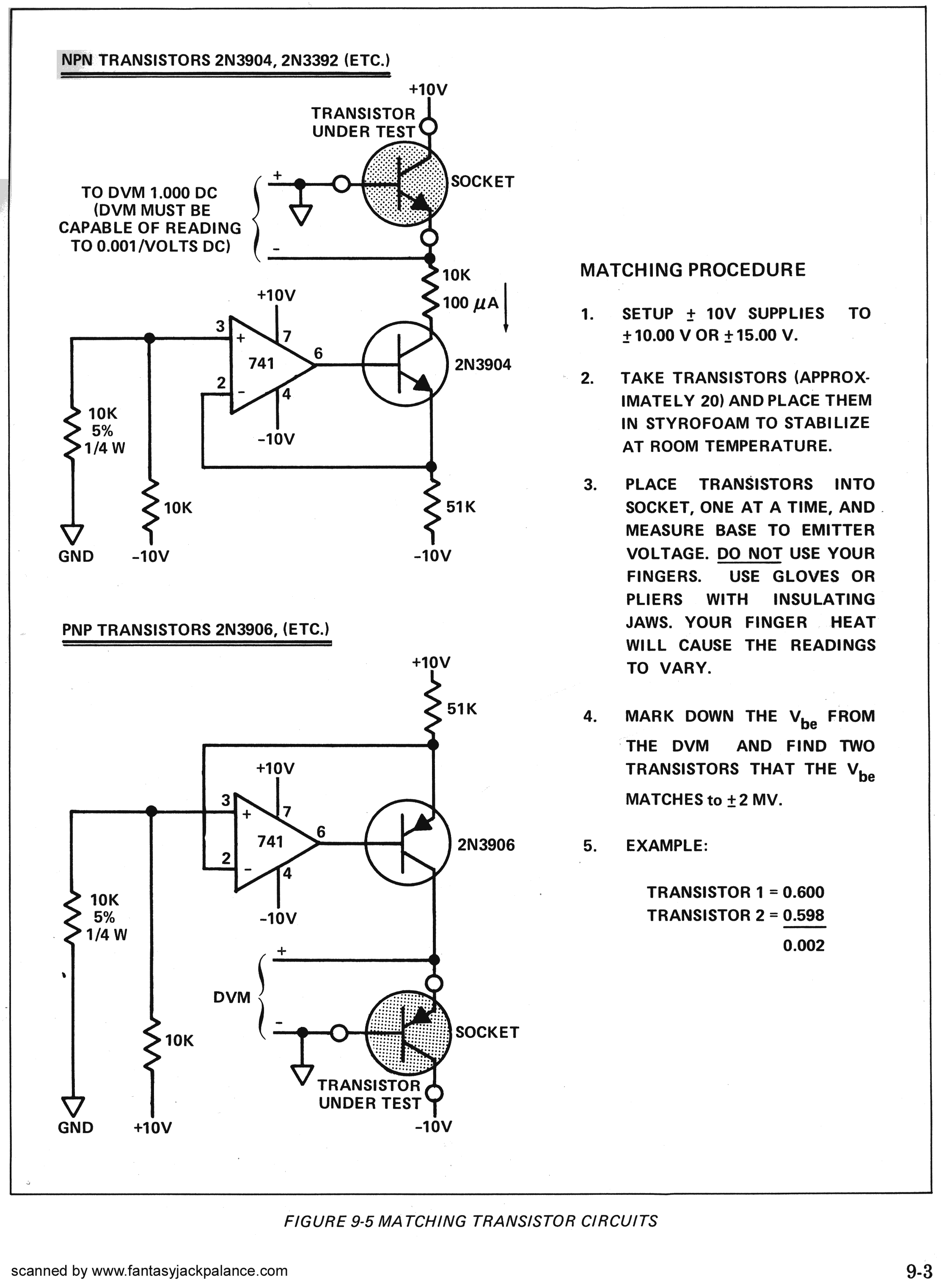
Transistoren, die unseren Test nicht bestehen, sind nicht zwangsläufig defekt. Es können
unbekannte Typen (FETs, HF-Transistoren), aber auch A-Typen mit geringer Stromverstärkung
sein. Es empfiehlt sich erst einmal, diese in ein eigenes Döschen oder Tütchen zu packen. Wenn
man später mal mehr Ahnung von der ganzen Sache hat, kann man vielleicht etwas damit anfangen.
 
			 
	 [wenn das überhaupt mit fets geht ?]
  [wenn das überhaupt mit fets geht ?]JuergenPB schrieb:Hinter der "30" müßten m.E. aber noch weitere Zahlen folgen. Normalerweise sind die 4-stellig
 
 JuergenPB schrieb:Wenn es sich um 2SK.... Typen handelt müßte die Nummer lauten
2SK30XY, wobei XY zwei Zahlen sein sollten (z.B. sowas wie 2SK3017 oder sowas in der Art).

huhu, jemand zuhause? Der 2SK30 ist ein N-Channel FET.JuergenPB schrieb:2SK30XY, wobei XY zwei Zahlen sein sollten (z.B. sowas wie 2SK3017 oder sowas in der Art).
punky40 schrieb:was baust denn ?
punky40 schrieb:Wenn ich mich recht erinnere gibts zwei Typen, die einen sind "genauer" .
D.h. die einen werden die gematchten sein, die andern nicht.
The 2SK30 is available without problems, at 50c each, but there are two versions, one in the normal TO92 case, and another, slightly different, in a more rounded case, with magnetic leads, which sounds less good. The Y selection has better Idss stability than GR, so I did choose Y for selection. Operating point is about 250uAmps anyway.
[/b]

 
	Zu unrecht. Viele Bauteile gibt es in versch. Bauformen. Ich kenne Dein Projekt nicht, doch brauchst Du *wahrschienlich* TO92. Das ist gängige Transistorform: In etwa ein der Länge nach halbierter Zylinder mit drei Beinchen.XeroX schrieb:in einem andern thread hab ich nun gelesen :
jetzt herrscht totale CONFUSIONThe 2SK30 is available... without problems, at 50c each, but there are two versions, one in the normal
Ilanode schrieb:. Ich kenne Dein Projekt nicht, ...
und auch Unterton meintThe Y selection has better Idss stability than GR, so I did choose Y for selection. Operating point is about 250uAmps anyway.
der typ Y ist der selektierte,so weit ich weiß sind die 2sk30 (O) + (Y) typen selektiert.
Ilanode schrieb:Sorry, da habe ich mich blöd ausgedrückt: Den Teil Deiner confusion kann ich nachvollziehen. Ich wollte nur darauf hinweisen, dass die geforderte Bauform eigentl. gut lösbar ist.

 
  
	tulle schrieb:Dann rechnest du nach, was als Strom fließen darf.
 
  
 
 
		
				
			 
