Die Atari 400, 800, 600XL und 800XL hatten ja generell die gleichen Möglichkeiten beim Sound und Grafik - waren aber mit dem XL ein bisschen verändert worden.

Damals konnte ich mir die nicht leisten. Diese Sammlung war hier im Haus. Hab nur noch die schwarze Datasette, und Disketten. Muaaa..
Hier eine Doku und Sound-Programm als PDF. Wer Lust auf sowas hat - hier ist auch viel drin, eigentlich alles.
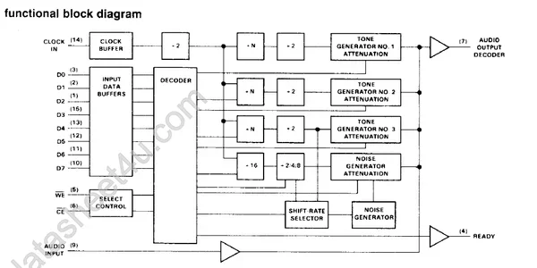
Der Sound war immer interessant, er hatte 4 "Kanäle" mit unterschiedlichen Waves und Noise, die man in 4 Zeichen einstellen konnte von Noise bis tonal - (Sinus, Dreieck, Rechteck), Hüllkurven gab es nicht, man setzte jeweils zu einem Zeitpunkt neue Lautstärkenwerte und Tonhöhen, die leider auch nur umgekehrt wirkten (also 255 war tief, 0 war hoch)
Eigentlich faszinierend, denn man konnte das alles ab 1979 schon per Basic erreichen und mit Schleifen und Subroutinen basteln.
Besser noch in Assembler - daher das Video oben. Der Atari 800 hatte einen kleineren Bruder, den 400er. Gleiche Features, aber mit Folientasten.
Da kann man einen Durchlauf auch hören - von Noise über "Distorted" bis bisschen britzelig zu tonal durch die Kanäle durch. Der Sound wird von "Pokey" dem Chip hergestellt, der auch I/O Jobs macht. Hier ein Atari 800XL
Die Grafik war besser (Aulösung) als ich mit meinem Spectrum - und viel mehr Farben - was sehr lange besser war als der Rest - aber ich hab nie einen Atari vor dem ST gehabt, dafür aber Zugang bei einem Freund (haha, ich weiss we das klingt) - das war gegen 1985, kurz vorm ST, ich hatte dann den QL, aber der kann sowas nicht. Der war schnell und super, aber was anderes- Ich stieg auf ST um und der hatte ja nur noch einen AY8910 aber MIDI. Also ist und war es schon spannend sich mit den Sounds in Computern zu befasse. Bei mir war es die Soundbox am ZX81
Mehr Bilder von 8-Bit Maschinen hier.
Aber diese Idee hätte mich damit kreativ gemacht, das war für Spiele gut und richtig, für SID Fans ist das wieder was anderes - denn der SID kann mehr, wenn auch nur 3 "Kanäle", also Stimmen mit echten Hüllkurven, was in einem Game auch Vorteile hat, aber - das Prinzip des alten Atari Pokey ist dann doch leichter zu händeln.
Tja, hätte ich gern gehabt. Daher mal der vermutlich einzige Atari "-non ST" Thread hier.
Ich mochte faktisch alles an denen - wobei die alte Serie ein bisschen wie der Jupiter 4 auf einen wirkt - sieht altmodisch aus gegenüber den XLs, die dem ST wiederum sehr ähnlich sehen - war ja der gleiche Designer - aber mal so damit wir Sound und Gamesound und Atari mal hier drin haben und ein bisschen Wehmut das damals nicht machen zu können. Sinclair User hatten nur Beep und Sampling über Tricks (ich hab die Tapebuchsen missbraucht und abgehört und konnte die dann auslesen und einlesen). Der Atari konnte das so nicht - aber ich denke die Tape-Buchsen dürften das auch können- also müsste das da auch gehen - beim C64 ging über SID indirekt 4Bit Sampling (Impossible Mission und Co) - mit dem "alten" SID, der neue hatte diese eigentliche Lücke nicht und brauchte einen Widerstand, um das Problem zu beseitigen wenn man das nutzte, was eigentlich eine Verbesserung war.
Drums & Melodie - etwas weniger sparsam mit Stimmen als C64/SID auf 8-Bit Ataris.
Wie dem auch sei - das Gewackel zwischen Lautstärkeknacksern war faktisch als Einschleuser für Samples im C64 zu missbrauchen, es war aber eigentlich ein Bug (den hat der Nachfolger nicht mehr, der im C128 genutzt wurde). Beim VC20 gabs weniger Sound (Noise und 3 Kanäle ohne Hüllkurven), keinen SID, also egal - aber eigentlich damit ähnlicher als der SID.
Für Sound war neben MSX und CX5M im Besonderen dann sonst kaum was auf dem Level - und AY8910 hatten sonst alle - der war "ok" aber den hatte ich ja als Soundbox und der war eher mehr für Gaming gedacht und hatte "LFO-Hüllkurven" einfacher Art (kein ADSR) mit Noise und melodischen Kanälen, so nennt man das da - Kanäle - immer - sind eigentlich Stimmen und bei Atari am meisten mit Multitimbral vergleichbar, beim AY ist es fast so, aber nicht so konsequent wie beim Atari. Der AY8910 im ST, MSX, Schneider und Co. hat 3 Töne die zusammen eine Hüllkurve haben (also paraphon), kein Filter und kann Noise auf die 3 Kanäle legen. Das ist daher vergleichbar mit dem TI99/4A. Atari ist etwas flexibler (4 Kanäle und mehr Noises, dafür aber kein Filter und keine Hüllkurve).
MSX - kam zu spät, die 8-Bit Technik war schon zu alt, der ST und Amiga haben diese Rechner "gekillt", da sie in allem besser waren, schneller, bessere Grafik, im Sound allerdings nicht, der Amiga hatte 4 Kanäle - aber der ST war seltsamerweise da begrenzt mit seinem AY8910 (den die meisten Rechner ja nutzten).

Damals konnte ich mir die nicht leisten. Diese Sammlung war hier im Haus. Hab nur noch die schwarze Datasette, und Disketten. Muaaa..
Hier eine Doku und Sound-Programm als PDF. Wer Lust auf sowas hat - hier ist auch viel drin, eigentlich alles.
Der Sound war immer interessant, er hatte 4 "Kanäle" mit unterschiedlichen Waves und Noise, die man in 4 Zeichen einstellen konnte von Noise bis tonal - (Sinus, Dreieck, Rechteck), Hüllkurven gab es nicht, man setzte jeweils zu einem Zeitpunkt neue Lautstärkenwerte und Tonhöhen, die leider auch nur umgekehrt wirkten (also 255 war tief, 0 war hoch)
Eigentlich faszinierend, denn man konnte das alles ab 1979 schon per Basic erreichen und mit Schleifen und Subroutinen basteln.
Besser noch in Assembler - daher das Video oben. Der Atari 800 hatte einen kleineren Bruder, den 400er. Gleiche Features, aber mit Folientasten.
Da kann man einen Durchlauf auch hören - von Noise über "Distorted" bis bisschen britzelig zu tonal durch die Kanäle durch. Der Sound wird von "Pokey" dem Chip hergestellt, der auch I/O Jobs macht. Hier ein Atari 800XL
Die Grafik war besser (Aulösung) als ich mit meinem Spectrum - und viel mehr Farben - was sehr lange besser war als der Rest - aber ich hab nie einen Atari vor dem ST gehabt, dafür aber Zugang bei einem Freund (haha, ich weiss we das klingt) - das war gegen 1985, kurz vorm ST, ich hatte dann den QL, aber der kann sowas nicht. Der war schnell und super, aber was anderes- Ich stieg auf ST um und der hatte ja nur noch einen AY8910 aber MIDI. Also ist und war es schon spannend sich mit den Sounds in Computern zu befasse. Bei mir war es die Soundbox am ZX81
Mehr Bilder von 8-Bit Maschinen hier.
Aber diese Idee hätte mich damit kreativ gemacht, das war für Spiele gut und richtig, für SID Fans ist das wieder was anderes - denn der SID kann mehr, wenn auch nur 3 "Kanäle", also Stimmen mit echten Hüllkurven, was in einem Game auch Vorteile hat, aber - das Prinzip des alten Atari Pokey ist dann doch leichter zu händeln.
Tja, hätte ich gern gehabt. Daher mal der vermutlich einzige Atari "-non ST" Thread hier.
Ich mochte faktisch alles an denen - wobei die alte Serie ein bisschen wie der Jupiter 4 auf einen wirkt - sieht altmodisch aus gegenüber den XLs, die dem ST wiederum sehr ähnlich sehen - war ja der gleiche Designer - aber mal so damit wir Sound und Gamesound und Atari mal hier drin haben und ein bisschen Wehmut das damals nicht machen zu können. Sinclair User hatten nur Beep und Sampling über Tricks (ich hab die Tapebuchsen missbraucht und abgehört und konnte die dann auslesen und einlesen). Der Atari konnte das so nicht - aber ich denke die Tape-Buchsen dürften das auch können- also müsste das da auch gehen - beim C64 ging über SID indirekt 4Bit Sampling (Impossible Mission und Co) - mit dem "alten" SID, der neue hatte diese eigentliche Lücke nicht und brauchte einen Widerstand, um das Problem zu beseitigen wenn man das nutzte, was eigentlich eine Verbesserung war.
Drums & Melodie - etwas weniger sparsam mit Stimmen als C64/SID auf 8-Bit Ataris.
Wie dem auch sei - das Gewackel zwischen Lautstärkeknacksern war faktisch als Einschleuser für Samples im C64 zu missbrauchen, es war aber eigentlich ein Bug (den hat der Nachfolger nicht mehr, der im C128 genutzt wurde). Beim VC20 gabs weniger Sound (Noise und 3 Kanäle ohne Hüllkurven), keinen SID, also egal - aber eigentlich damit ähnlicher als der SID.
Für Sound war neben MSX und CX5M im Besonderen dann sonst kaum was auf dem Level - und AY8910 hatten sonst alle - der war "ok" aber den hatte ich ja als Soundbox und der war eher mehr für Gaming gedacht und hatte "LFO-Hüllkurven" einfacher Art (kein ADSR) mit Noise und melodischen Kanälen, so nennt man das da - Kanäle - immer - sind eigentlich Stimmen und bei Atari am meisten mit Multitimbral vergleichbar, beim AY ist es fast so, aber nicht so konsequent wie beim Atari. Der AY8910 im ST, MSX, Schneider und Co. hat 3 Töne die zusammen eine Hüllkurve haben (also paraphon), kein Filter und kann Noise auf die 3 Kanäle legen. Das ist daher vergleichbar mit dem TI99/4A. Atari ist etwas flexibler (4 Kanäle und mehr Noises, dafür aber kein Filter und keine Hüllkurve).
MSX - kam zu spät, die 8-Bit Technik war schon zu alt, der ST und Amiga haben diese Rechner "gekillt", da sie in allem besser waren, schneller, bessere Grafik, im Sound allerdings nicht, der Amiga hatte 4 Kanäle - aber der ST war seltsamerweise da begrenzt mit seinem AY8910 (den die meisten Rechner ja nutzten).
