Hi,
ich suche einen bestimmten Schalter den es nur bei Farnell zu geben scheint.
Da ich sonst nix brauche... , vielleicht hat jemand einen 2MD1T1B5M2RE übrig?
Hoffentlich.

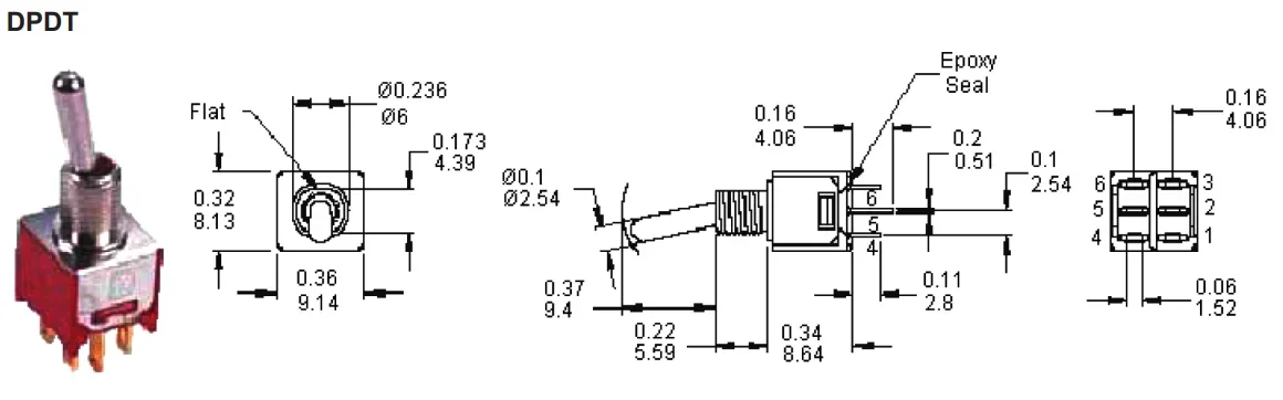
Ja, aber mir Platinenmontage und nicht mit Lötösenanschlüssen.Das ist doch nur ein ganz simpler DPDT (on-on) ohne Mittelrastung
Ja, aber mir Platinenmontage und nicht mit Lötösenanschlüssen.
.![IMG_20210416_121858_1[1].webp IMG_20210416_121858_1[1].webp](https://www.sequencer.de/synthesizer/data/attachments/87/87207-5632a6f9fc8a9349a1091181f62ebff4.jpg?hash=krdLIfJt2p)
Oha, na dann ist ja alles super.Die Schalter, die @GuywithBass gepostet hat, sind zwar mit Lötösen, passen aber z.B. in das Erica Envelope Modul, ich hab schon eins gebaut und bin gerade am Zweiten.
Sehr gut, welches Modul bauste denn?Oha, na dann ist ja alles super.
Der issn bisschen kniffelig, falls du aber 0805er SMD Widerstände hast, passen die auch prima ;) . Jetzt beim Zweiten hab ich die 13x 100k durch SMD ersetzt, prima Sache.Na genau wie du erkannt hattest den Erica EG.
Ok aber warum ist es kniffelig mit aufrechten Widerständen?Der issn bisschen kniffelig, falls du aber 0805er SMD Widerstände hast, passen die auch prima
Das Teil hat doch auch Lötösen.Danke euch aber ich brauche wirklich nur den mit den passenden Maßen, da ich eine fertige Platine bestücken will.
Anhang anzeigen 97649
gab es maldie gibt es bei befaco
Glaube das sind flache Stifte, wenn Lötösen passen ist es ja auch gut.Das Teil hat doch auch Lötösen.
Ich kuck heute abend gern mal, sofern das noch aktuell ist (habs eben erst gesehen)..01 uf.
Ja Danke, hatte schon bei Reichelt geschaut aber echt nicht gefunden, wahrscheinlich Falsch geschrieben![]()
Folge dem Video um zu sehen, wie unsere Website als Web-App auf dem Startbildschirm installiert werden kann.
Anmerkung: Diese Funktion ist in einigen Browsern möglicherweise nicht verfügbar.