Neu

JD 990 leeres Display (und keine LED leuchtet)

faltac

||||||||
Guten Abend,

mein JD 990 hat heute beim einschalten ein
leuchtendes Display aber komplett ohne Text.

Hat jemand vielleicht eine Idee?
 
Zuletzt bearbeitet:
  • #32
Das würde ich jetzt mal als nicht gut betiteln. Eigentlich ist ein defekter Regler defekt. Also nicht 1,xV sondern 0V.
So etwas ist mir zuletzt beim Tiracon begegnet, wo der Computer kurz nach dem Start abgestürzt ist und irgendwas auf dieser Platine auf einmal sehr viel Strom haben wollte und das Netzteil dadurch einbrach auf 1,xV. Auch ein Austausch des Netzteils hat hier keine Veränderung ergeben. Hier musste leider ein neuer Computer rein. Den Fehler auf der alten Computerplatine habe ich bis heute nicht gefunden.

Du solltest also beim JD-990 jetzt vorher testen (lassen), ob das, was mit +5V betrieben wird mit einem anderen Netzteil funktioniert.
 
  • #34
Update:

Heute ist das Teil aus China eingetroffen.

Am 2. Samstag ist der nächstmögliche Reparaturtermin.

ich denke, dass ich den Thread mal mit dahin nehme.
 
  • Daumen hoch
M.i.a.u.: 10716
  • #35
Nunja,

schade.

Nach dem Tausch des Teils blieb der Fehler bestehen.

Ich habe mal ein paar Aufnahmen mit der Wärmebildkamera gemacht.
 

Anhänge

  • flir_20220227T183240.webp
    flir_20220227T183240.webp
    487,2 KB · Aufrufe: 22
  • flir_20220227T183017.webp
    flir_20220227T183017.webp
    460,3 KB · Aufrufe: 21
  • flir_20220227T183006.webp
    flir_20220227T183006.webp
    323,7 KB · Aufrufe: 19
  • flir_20220227T182955.webp
    flir_20220227T182955.webp
    258,4 KB · Aufrufe: 20
  • #36
Leider gleicht sich das Mainboard im Service Manual leider überhaupt nicht mit deinem.

1646011055117.webp

Und die Beschriftungen sind auf der Wärmebildkamera teils nicht mehr zu lesen.

Man sieht auf jeden Fall, dass der betroffene Regler ziemlich glüht. Da er neu ist kann er es eigentlich nicht schon wieder sein.
Auf der Gesamtübersicht ist eigentlich danach die auffälligste Stelle, wo der Stecker vom Netzteil aufs Mainboard kommt.
Auf der genaueren Ansicht der Stelle sieht es aber so aus, als wär dort nichts?
Und schließlich auf dem dritten Bild scheint ein Kondensator ziemlich heiß zu werden. Ich kann leider die Beschriftung hier nicht lesen. C14? C18?
Mich wundern auch diese Hotspots an den Beinchen mancher SMD-ICs. Keine Ahnung warum es da heiß wird. Ein SMD-IC bzw. dessen Zuleitung in der nähe des heißen Elkos scheint ebenfalls sehr heiß zu sein. Welcher IC ist das?
 
  • #37
Dieses Layout ist auf der Seite 22 im Servicemanual abgebildet und zeigt das Mainboard von @faltac.

1. Frage:
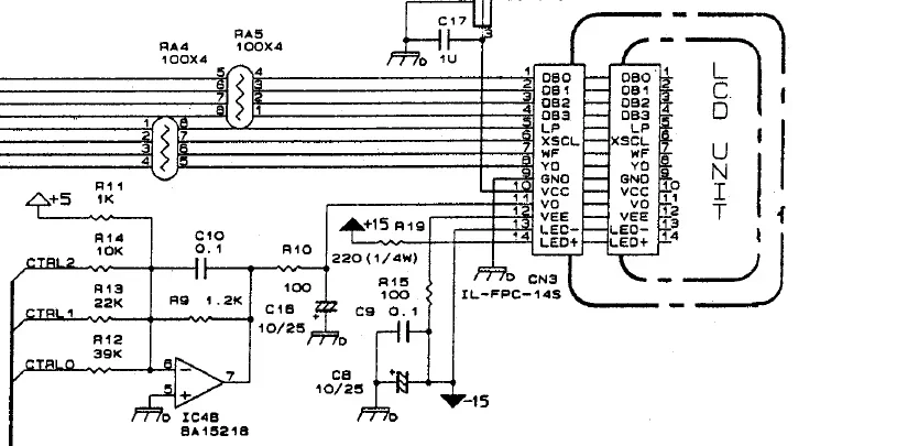
Der Kondensator C18 zwischen Connector CN6 und Connector CN1 ist auf dem ersten Wärmebild als möglicher Wackel-Kandidat im Zusammenspiel mit dem IC4 (BA15218) für die LCD-Ansteuerung auszumachen...?

2. Frage:
Ist C18 betreffend Kapazitätswert noch im grünen Bereich? (10 microFarrad/25Volt)
Als mögliche Idee: Ansteuerung VO(0) (Pin 11/LCD Unit Contrast)


1646077302866.png

1646078860860.png
 
  • #38
flir_20220227T183157.webp
 

Anhänge

  • flir_20220227T182528.webp
    flir_20220227T182528.webp
    395,7 KB · Aufrufe: 11
  • flir_20220227T182609.webp
    flir_20220227T182609.webp
    391,3 KB · Aufrufe: 10
  • flir_20220227T182623.webp
    flir_20220227T182623.webp
    204,3 KB · Aufrufe: 11
  • flir_20220227T182718.webp
    flir_20220227T182718.webp
    247,5 KB · Aufrufe: 11
  • flir_20220227T182728.webp
    flir_20220227T182728.webp
    194,5 KB · Aufrufe: 10
  • flir_20220227T182747.webp
    flir_20220227T182747.webp
    207,9 KB · Aufrufe: 9
  • flir_20220227T183055.webp
    flir_20220227T183055.webp
    292,6 KB · Aufrufe: 9
  • flir_20220227T183157.webp
    flir_20220227T183157.webp
    370 KB · Aufrufe: 8
  • flir_20220227T183537.webp
    flir_20220227T183537.webp
    285,3 KB · Aufrufe: 13
  • #39
Guten Abend,

@Magic994
Der Regler mach scheinbar das gleiche wie der originale.

Der hätte scheinbar auch nicht getauscht werden müssen.

@satchy
Zu den Fragen kann ich leider nichts genaueres sagen weil ich keine Fachkraft bin und das auch so nicht weiter prüfen kann.

Aber ich denke dass die Bilder ( 47 Stück ) etwas helfen können.

Ich muss mal sehen ob ich in den Nächsten Wochen vielleicht zu einer Fachwerkstatt komme.
 

News

Zurück
Oben